| 1 前言
液化气体汽车罐车(以下简称“汽车罐车”)在我国国民经济发展中正发挥着重要作用。由于汽车罐车属移动式压力容器,流动性大,介质多数为易燃易爆,因此其安全性愈来愈受到重视。汽车罐车的防波板装置及与罐体的连接焊缝开裂是汽车罐车常见的缺陷之一。《液化气体汽车罐车安全监察规程》对设置防波板安装位置及每个防波板的有效面积作了具体规定,而对于防波板的具体结构各制造单位都有不同形式。根据我们在汽车罐车检验中发现的防波板开裂情况来看,对开裂形式及原因加以分析。
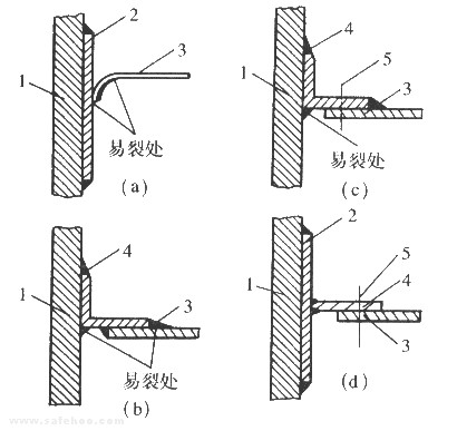
2 开裂形式
防波板与托板(角钢)一般分为焊接和螺栓连接两种(如图1)。托板(角钢)与罐体采用垫板过渡连接,也有两者之间直接焊接的。防波板装置开裂形式基本上分二类:(a)防波板、托板(角钢)开裂。(b)托板(角钢)、垫板与罐体焊缝产生的裂纹开裂。对于前者,可采用打止裂孔及焊补方法,后者应及时将原缺陷清除,进行焊接返修处理,防止裂纹进一步延伸至罐体母材,引起严重后果。
图1
1.罐体 2.垫板 3.防波板 4.角钢托板 5.螺栓连接
3 原因分析
(1)防波板与托板(角钢)采用焊接连接形式,产生开裂机率较高。这是因为当防波板、托板(角钢)和罐体焊接成一体后,拘束度大;另外,罐体在运输过程中产生的变形,引起筒体的不圆度,也使防波板两侧的焊缝受到一定的附加应力。
(2)在汽车罐车运输过程中,由于汽车惯性作用,特别是紧急刹车等情况,罐内液化气体产生较大的纵向液体冲击力,使防波板及连接焊缝受到交变冲击载荷影响,易在防波板的R处、托板(角钢)R处等应力集中部位产生裂纹,并延伸扩展,而采用螺栓连接形式,由液化气体产生的冲击载荷通过螺栓连接形式,由液化气体产生的冲击载荷通过螺栓连接将其部分释放,有一定的缓冲作用。
(3)防波板、托板(角钢)、垫板等本身的制作工艺及连接焊缝质量是影响开裂的另一个因素。在检验中发现,防波板等附件边缘毛糙,曲率半径小,焊缝外观成形差,存在凹陷、咬边等缺陷,使此处应力集中,由于液体冲击的作用易在这些部位首先造成开裂。另外,托板(角钢)材质一般为普通碳素钢,与罐体直接焊接,由于材质不一致焊缝质量也难以保证。
(4)国内液化石油气组分复杂且硫化氢含量一般偏高,在20℃左右,硫化氢对钢材最敏感,在水的作用下硫化氢发生电离:
H2S→H++HS-
HS-→H++S2-
而在金属表现发生电化学反应:
Fe+HS-→FeS+H++2e
2H++2e→2[H]
反应使得氢原子[H]向金属内表面渗透并扩散、形成脆化层,而对于防波板、托板(角钢)等往往是采用普通的Q235A材质,较正火状态下的16MnR晶粒粗大,更易形成脆化层,因此在罐车运输过程中,在液化气体脉动冲击载荷作用下,该种材料的部件之应力集中处更容易产生应变开裂。
4 建议
(1)汽车罐车的防波板与托板(角钢)尽量采用螺栓连接,减少拘束,以缓解液化气体在汽车运输过程中对防波板装置产生的冲击力影响。
(2)不宜直接将托板(角钢)与罐体焊接,中间采用与罐体材质相同垫板,防止托板焊缝产生的裂纹延伸至罐体母材。
(3)严格托板(角钢)、垫板等的制作工艺,R处应圆滑过渡,曲率半径不宜过小。防波板两边缘可折成槽钢形状、增加刚度、减少从边缘开裂的机率。改善连接焊缝的焊接质量,不得有凹陷、咬边等缺陷存在。
(4)对防波板、托板(角钢)、垫板等尽可能采用16MnR等材质,防止液化石油气中硫化氢对其产生的影响,亦减少由于异种钢材焊接而引起降低焊缝质量,避免开裂倾向。
潘鸿 (责任编辑:admin) |